产品中心
一、概述
HHFY系列浮油吸收机是借鉴国外技术研制成功的新一代投资小、见效快、节油、节能、理想的油水分离设备。多年来,我们根据用户反馈的信息和建议,对该产品进行了更新改造,促使改进后的产品使用效果及经济效益更加理想,赢得用户的一致赞誉。
二、适用范围
该机适用于吸收漂浮在水面上多种成份的废油,包括机油、煤油、柴油、润滑油、植物油及其它比重小于水的液体,不管水面上油层厚薄,均可使其聚集和回收。
专业用在高铁、地铁、化工、食品等行业:
1、含油废水的隔油蓄水池中。
2、各种冷却液的循环蓄水池中。
3、含油废水深度净化前的预处理调节池中。
4、气浮分离池中的浮油收集。
5、比重不同的两液分离中。
三、本机特点
该机同其它型号的集油器相比,其主要特点是:
1、增加了地面上的二次分离部分,提高了油质纯度。
2、水中收油部分可根据油层厚薄对浮筒进行调节,无论水面上油层厚薄,本机均可回收。
3、采用独特的抽油方式,基本不怕粘油堵塞。
4、水上和地面动力设置可根据用户要求采用防爆型电器,防止在易燃易爆区内因电火花而产生爆炸的危险。
5、根据用户使用地点可以选择移动式或者固定式设备,充分满足广大用户的使用需求。
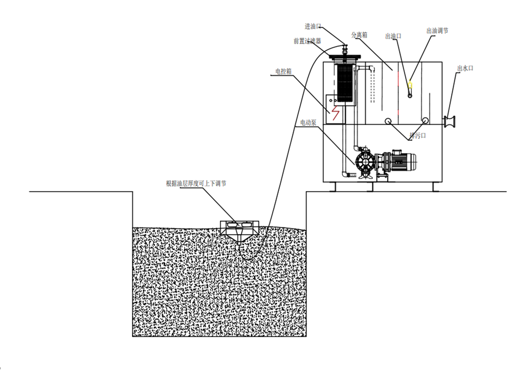
四、浮油吸收机结构
1、水下部分:
开动收油电机,油层通过隔网隔除悬浮物后流经中心管进入集油筒上部,水从反射罩返回隔油池中。
2、地面部分:
开动油泵,通过胶管和真空罐将聚集在集油筒里上部的油液吸进地面二次分离装置,油液通过蜂窝斜管使油上浮水下沉,油液从流油管流进收油桶内,待回收使用或深化处理回用。出水口水重返隔油池内。
五、浮油吸工作原理示意图

六、浮油吸收机工艺设备参数

七、环境和经济效益
1、减少了废水中的浮油对自然水质的污染,保护了环境。
2、在短时间内可以从回收的浮油中收回采购设备的投资,长期运行还能得到较好的经济效益。
3、在冷却循环蓄水池中使用,可以去除水池中的表层浮油,使冷却液直接与空气接触,从而提高了 冷却液的使用寿命,减少了冷却液的支出费用,节省了生产的开支。
安装调试
1、将浮油吸收机的水下部分放置在隔油池中的浮油汇集部位,调节四个可调浮筒使其保持水平并将集油筒上平面埋入油面下10-30毫米。
2、浮油机的地面部分应放置在距水下部分最近的隔油池旁的地面上,保持水平和稳定,其高度不得超过水泵的吸程。
3、电控箱电源线接通总电源,连接收油电机和油泵电机的电源线,连接收油电机的电源线必须采用三相四线的黑胶皮电缆线,严防漏电。
4、启动收油电机,观察集油筒上部的油面是否被吸进集油筒内,否则应调整接头使电机正转实现正常收油。
5、连接真空罐和集油筒间的耐油加厚橡胶管。清水溢流槽上的管接头可用普通橡胶管或镀锌钢管连接后通向隔油池,其末端应插进液面下300-500毫米,以免扰动池面的油层。
6、用自来水或隔油池内的清水向真空罐内注满水后将上盖闭严。真空罐可起到油泵吸油时罐内形成负压可连续抽油的作用。再次开泵前无需再向罐内注水。
7、启动收油电机数分钟之后待二次分离箱充满后,清水从清水溢流槽的皮管接头排出,浮油从流油管缓慢溢出。
8、为了提高除油的效果,可根据从流油管溢出的油质情况调整螺母控制油层的厚度。
Copyright © 烟台辉宏过滤设备有限公司 鲁ICP备16007918号-4